ال جی گواهی ثبت اختراع یک قلم هوشمند مجهز به صفحه نمایشی یا قابلیت رولشدن را بهنام خود ثبت کرد. این قلم هوشمند مجهز به سنسورها و ویژگیهای جالبی است که کاربر میتواند از آن بهعنوان یک گوشی هوشمند نیز استفاده کند.
شرکت ال جی گواهی ثبت اختراع طراحی یک گوشی هوشمند تاشو را به نام خود ثبت کرده است. این گواهی ثبت اختراع شامل یک قلم هوشمند و یک صفحه نمایش با قابلیت تاشدن و یا به عبارتی دیگر رول شدن است. این گواهی حدود سه سال پیش در تاریخ 5 آگوست 2015 ثبت شده بود.

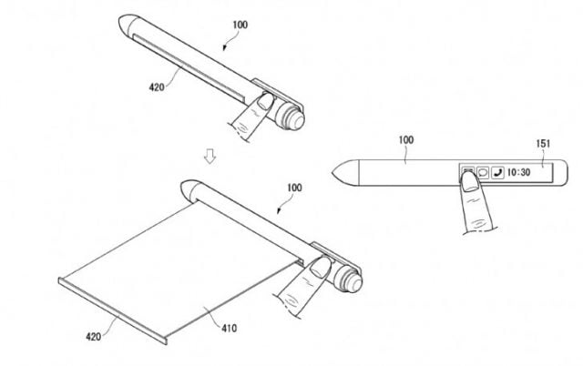
در واقع در این گواهی ثبت اختراع، قلم هوشمندی با دو صفحه نمایش طراحی شده است. صفحه نمایش کوچکتر که مربوط به میانبرهای اپلیکیشنها و نمایش نوتفیکیشنهای دریافتی است و صفحه نمایش بزرگتر نیز برای هر کار دیگری مناسب است. این قلم هوشمند دکمهای در کنار خود دارد که وقتی آن را بزنیم، صفحه نمایش بزرگتر را به داخل قلم هوشمند، رول میکند. این صفحه نمایش میتواند برای نمایش فیلم و یا یادداشت برداشتن نیز مورد استفاده قرار گیرد. البته این تمام ماجرا نیست؛ این قلم هوشمند دارای مجموعهای از سنسورها است که میتوانید در هر گوشی مدرنی این سنسورها را ببینید؛ برای مثال میتوان به سنسورهای ژیروسکوپ، قطبنمای الکترونیکی، دوربین و یا سنسورهای ردیابی چشم بهعنوان قابلتوجهترین این سنسورها اشاره کرد. همچنین ویژگیهایی نظیر اسکنر اثرانگشت، میکروفون و هدفون قابلیتهایی هستند که به کاربر این امکان را میدهد که بهراحتی از این قلم هوشمند بهعنوان یک تلفن همراه استفاده کند.
مزایای این طرح به همین چند مورد ختم نمیشود. ظاهرا این قلم هوشمند میتواند به هر دستگاه هوشمند دیگری وصل شود. بنابراین اگر با این قلم بر روی سطحی یادداشتی بنویسید، این متن و عبارت یادداشت شده بر روی گوشی هوشمندی که به آن متصل شده، نمایش داده خواهد شد.
کلام آخربهنظر میرسد که سازندگان گوشی هوشمند برای چالشهای نوآورانه بعدی آماده میشوند. این درحالی است که در هفته گذشته چندین گواهی ثبت اختراع پیرامون طراحی گوشیهای هوشمند تاشو، اسکنرهای بیومتریک و … منتشر شد؛ بهنظر میرسد که چالش بزرگ بعدی که قرار است بازار گوشیهای هوشمند را تحت تاثیر قرار دهد، گوشیهای هوشمند تاشو خواهند بود. در بخش نظرات، دیدگاه خود را با ما به اشتراک بگذارید.
